Sabias que os teus passeios noturnos podem em breve tornar-se mais seguros e práticos? A Apple está a trabalhar numa inovação que promete revolucionar o uso do Apple Watch. Imagina ter uma lanterna sempre à mão, sem precisares de procurar uma no escuro.
Pois é, a empresa está a desenvolver um acessório externo que vai iluminar os teus caminhos: uma lanterna modular para o Apple Watch.
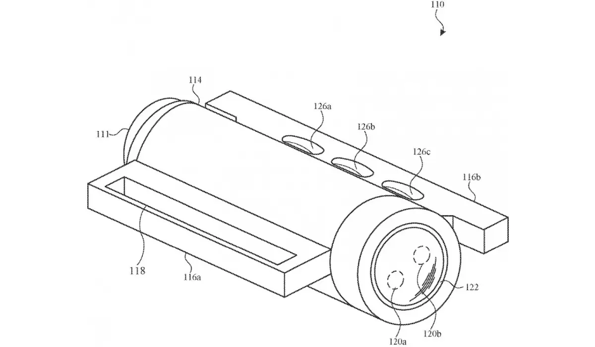
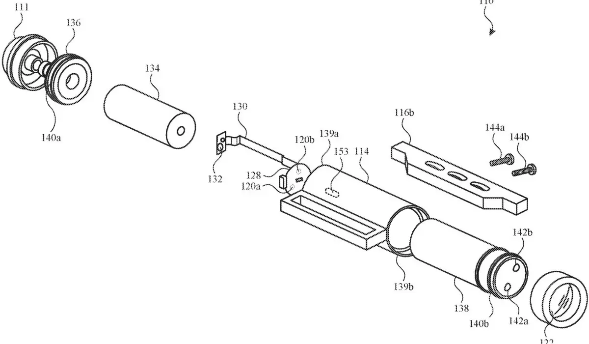
Esta novidade não é apenas um rumor. Um pedido de patente recentemente concedido à Apple revelou o projeto chamado “Modular Light Assembly For A Wearable Device”. Este dispositivo pode ser encaixado no teu Apple Watch, transformando-o numa prática lanterna.

Mais do que uma simples luz
O que torna este acessório especial? A primeira vantagem é óbvia: poderás iluminar o que precisas sem teres de virar o pulso, como acontece atualmente com a função lanterna do ecrã do relógio. Além disso, este módulo terá a sua própria fonte de energia, para que não tenhas de te preocupar com o consumo da bateria do teu relógio.
Outra característica interessante é a possibilidade de controlar a lanterna tanto pelo botão físico no próprio módulo quanto pelo próprio Apple Watch. Isto significa que, mesmo à distância, poderás acender ou apagar a luz.
Resistência e versatilidade
Os detalhes da patente indicam que a Apple pensou na resistência deste acessório. Com características que previnem a entrada de líquidos, como selos ou O-rings, a lanterna modular estará pronta para te acompanhar em aventuras sob chuva ou em ambientes mais desafiadores.
E há mais: o projeto sugere que a lanterna pode ser separada da pulseira do relógio. Isto abre a possibilidade de a Apple lançar pulseiras específicas para este acessório, ou até mesmo vender a lanterna como um aditivo separado.



Rumo a um futuro mais brilhante
O que este desenvolvimento da Apple nos indica é um caminho onde a conveniência e a inovação andam lado a lado. A ideia de uma lanterna modular para o Apple Watch é mais um passo na direção de tornar a tecnologia wearable ainda mais integrada ao nosso dia a dia, de forma prática e inteligente.
Lembra-te, esta é uma inovação em desenvolvimento. Ainda não sabemos quando estará disponível no mercado, mas é certamente algo a aguardar com expectativa.
Outros artigos interessantes:










