A Samsung deu um passo além na tecnologia wearables ao patentear um conceito de anel inteligente capaz de interagir com múltiplos dispositivos. A inovação surge após o lançamento do Galaxy Ring, focado em monitorização de saúde, e promete transformar a forma como interagimos com ecrãs.
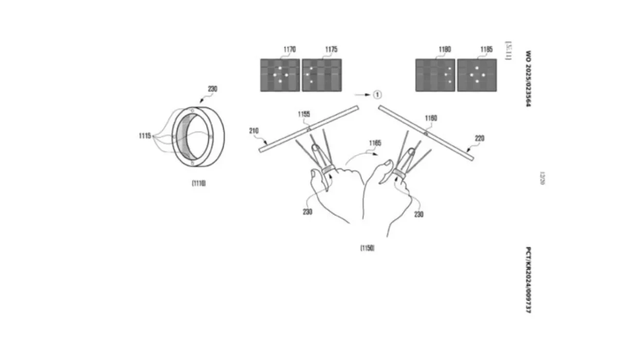
Segundo documentos do World Intellectual Property Organization (WIPO), o novo dispositivo permitirá controlar tablets, portáteis e outros aparelhos conectados na mesma rede. Os diagramas da patente mostram um utilizador a mover conteúdos entre um portátil e um tablet usando gestos com o anel — semelhante à funcionalidade Continuity da Apple, mas sem depender de ecossistemas fechados.
A tecnologia descrita inclui:
- Transferência de dados entre ecrãs
- Ajustes de volume/brilho através de gestos circulares
- Navegação em apresentações ou documentos
Como funciona? O sistema reconhece a proximidade do anel aos dispositivos, ativando uma interface virtual no ecrã. Um toque no anel confirmaria ações como enviar ficheiros ou reproduzir media.


Além da S Pen: integração sem limites
Embora a S Pen já permita controlar slideshows ou zoom em imagens, a patente sugere que o anel oferecerá uma interoperabilidade mais fluída. A chave está na capacidade de criar “continuidade natural entre ecrãs”, segundo a descrição técnica.
“Esta invenção resolve a fragmentação atual entre dispositivos, oferecendo um controlo unificado através de um wearable minimalista” — excerto da patente.
Saúde + produtividade: o próximo salto
Analistas especulam que a Samsung combinará as funcionalidades de saúde do Galaxy Ring atual (monitorização de sono, frequência cardíaca) com estes novos recursos de produtividade. Contudo, a marca ainda não confirmou:
- Que tipo de conexão (Wi-Fi, Bluetooth Ultra Wideband) será usada
- Se a tecnologia exigirá hardware específico nos dispositivos controlados
- Prazos para comercialização
Embora anéis inteligentes como o Oura Ring ou o Circular Slim sejam populares no mercado de wellness, nenhum oferece até agora capacidades de controlo de dispositivos tão avançadas.

Desafios que a Samsung tem pela frente
Especialistas identificaram vários obstáculos técnicos e comerciais para a materialização deste conceito. A precisão gestual emerge como o primeiro entrave, exigindo sensores capazes de captar movimentos mínimos num dispositivo de dimensões reduzidas.
A autonomia da bateria constitui outra preocupação, já que funcionalidades avançadas de comunicação poderão reduzir significativamente a duração atual de 5 a 9 dias do Galaxy Ring. Outro aspeto crítico prende-se com os custos de produção — a integração de tecnologia de comunicação inter-dispositivos poderá inflacionar o preço final, tornando-o menos acessível ao público geral.
Outros artigos interessantes:










